快速导航
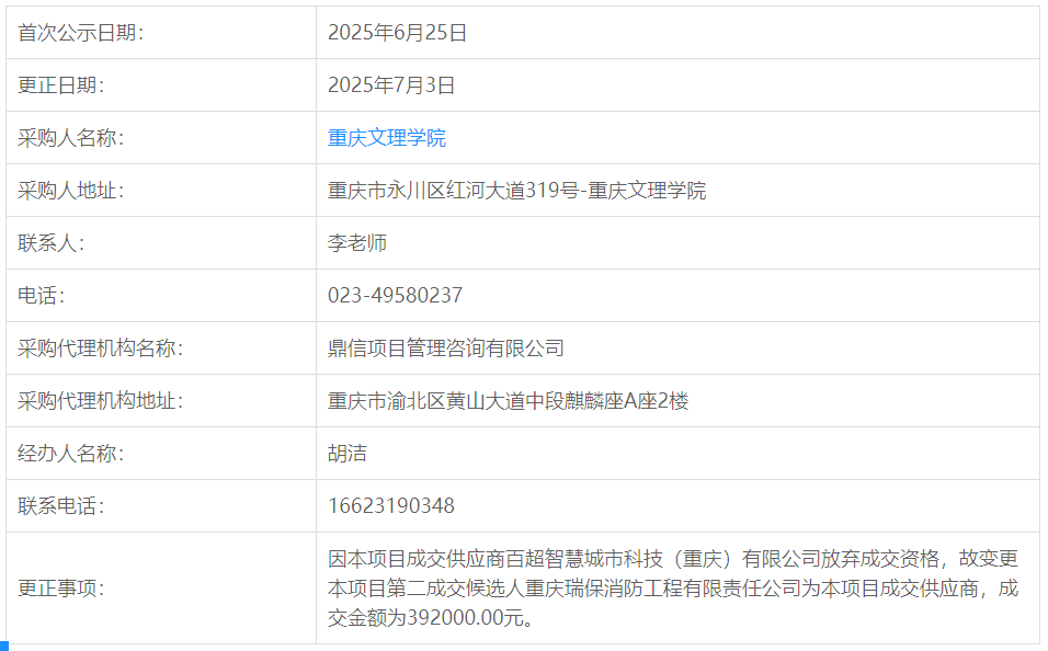
mansion88明升消防维保服务采购结果更正通知
更新时间: 2025-07-03 18:21 浏览:次 来源:国有资产管理处
mansion88明升消防维保服务采购结果更正通知

相关公告
mansion88明升消防维保服务采购结果公告 2025-06-25 08:49:47
mansion88明升消防维保服务采购公告 2025-06-12 14:39:57
行采家链接网址;********